产品简介
直角弯头热电偶可以直接测量各种工业生产过程中从0℃~600℃范围内的液体、气体、蒸汽及固体表面的温度,并把温度信号转换成热电动势信号,通过二次仪表转换成被测介质的温度。在实际应用中热电偶有多种结构方式,但工作原理都是一样的,因其结构简单、制造方便、测温范围广、精度高、惯性小和输出信号便于远传等优点,所以在工业生产过程中得到极为广泛的运用。
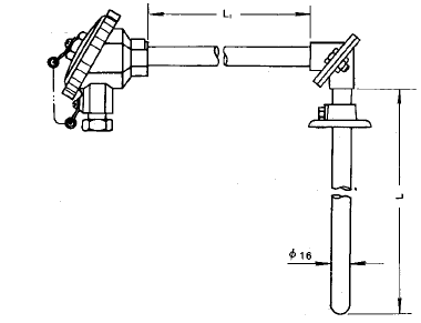
直角弯头热电偶适用于生产现场存在高温和有害气体对热电偶接线盒有影响,或不宜直接水平及垂直安装场合。
产品技术参数
测量范围:0-600℃
分度号:E分度
精度等级:I级( ±1.5℃或±0.004|t|) II级( ±2.5℃或±0.0075|t|)
热电偶类别:镍硅-铜镍
接线盒类型:防溅式、防水式
安装方式:根据客户需求
保护管直径:根据客户需求
保护管材质:根据客户需求
保护管插深:根据客户需求
热响应时间:T0.5<80S(在温度出现阶跃变化时,热电偶的输出变化至相当于该变化的50%所需要的时间,用T0.5表示)
热电偶公称压力:常压一般是指在保护管所能承受的静态外压而不破裂)
热电偶绝缘电阻:常温绝缘电阻的试验电压为直流500V±50V,大气条件为温度15~35℃,相对湿度45%,大气压力86~106kPa,它的常温绝缘值应≥100MΩ。
执行标准:JB/T9238-1999
产品工作原理
当有两种不同的导体,其两端相互焊接时,两结点处的温度不同,一端温度为测量端或工作端,另一端温度为自由端或冷端,当两端温度存在温差时,就会在回路时产生热电流,配上显示仪表,仪表上就能显示出热电偶所产生的热电动势的对应温度值。热电偶的热电动势将随着测量端或工作端的温度升高而增长,热电偶的热电动势的大小只和导体材质及两端温差有关,和导体的长度、直径无关。
选型表

型号举例:
WRN-530表示K分度活动法兰带防水式接线盒,直角形热电偶,可为双支。
WRE-530表示E分度活动法兰带防水式接线盒,直角形热电偶,可为双支。
结构图片
特殊规格可定制




