产品简介
热套式热电偶作为温度测量仪表可与显示仪表配套实现温度的显示和控制,套管式热电偶可以直接测量和控制生产过程中0-800℃范围的气体,液体和蒸汽的温度,不***可用于发电厂管道的温度测量,同时也可用于其它工业部门生产过程中的温度测量。
主要技术参数
测量范围:0-800℃
分度号:K分度
精度等级:Ⅰ级(±1.5℃或±0.004|t|)Ⅱ级(±2.5℃或±0.0075|t|)
热电偶类别:镍铬-镍硅,可以为双支
保护管材质:根据客户需求
保护管插深:根据客户需求
热响应时间:T0.5<75S(在温度出现阶跃变化时,热电偶的输出变化至相当于该变化的50%,所需要的时间称为热响应时间,用T0.5表示)。
热电偶公称压力:≤10MPa(一般是指在室温情况下保护管所能承受的静态外压而不破裂。实际上容许工作压力不***与保护管材料、直径壁厚有关,还与其结构形式,安装方法,置入深度以及被测介质的流速和种类等有关)。
热电偶流速:无
热电偶jue缘电阻(常温):常温jue缘电阻的试验电压为直流500V±50V,大气条件为温度15~35℃,相对湿度45%,大气压力86~106kPa,它的常温jue缘值应≥100MΩ。
执行标准:JB/T9238-1999
工作原理
当有两种不同的导体,其两端相互焊接时,两结点处的温度不同,一端温度为测量端或工作端,另一端温度为自由端或冷端,当两端温度存在温差时,就会在回路时产生热电流,配上显示仪表,仪表上就能显示出热电偶所产生的热电动势的对应温度值。热电偶的热电动势将随着测量端或工作端的温度升高而增长,热电偶的热电动势的大小只和导体材质及两端温差有关,和导体的长度、直径无关。
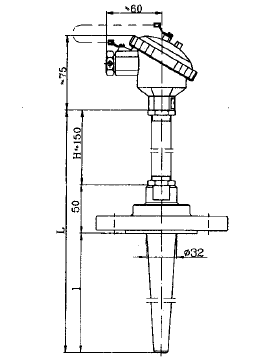
结构图片




固定螺纹锥形套管 固定法兰直形套管 焊接式锥形套管 高压焊接式锥形套管



